99r在线播放I91免费观看视频网站I成人黄色短片I在线成人小视频Iav电影免费在线播放I在线观看免费91I麻豆久久一区二区I99九九视频

您好! 歡迎來到上海滬工起重機械有限公司!

熱門搜索:

手扳葫蘆

首頁 > 產品中心 > 手扳葫蘆
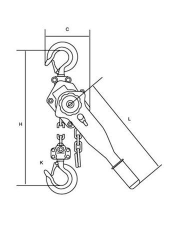
VA型手扳葫蘆
VA型手扳葫蘆

產品介紹

      VA型手扳葫蘆是-種輕小型,多用途手動起重,牽引機械,r泛應用于電力,礦山,造船,建筑,運輸,郵電等部門的設備安裝,物品起吊,機件牽引,散件捆綁,線路拉緊及焊接對位等場合,手板葫蘆尤其在狹小的工作場所,野外高空作業和各種不同角度的牽拉更顯其優越性,起吊搬運的理想工具。
 
      VA型手扳葫蘆優點:
 
      1.結構先進,使用安全可靠,經久耐用;2.整機效率高,操作簡單、舒適;3.體積小,自重輕,攜帶方便;4.全部為結構鋼;5.特級的合金鏈條;6.全部為齒輪轉動;
 
      7.齒輪和軸的轉動處都有軸承或軸套;8.產品表面經過噴塑處理。

 

下一個:VL型手扳葫蘆
銷售咨詢:021- 61473468 021-61474468 手 機:   手機:15921513569

傳真:021-33250445 E-mail:2638202261@qq.com 地址:上海市隆昌路40弄8號  備案號:滬ICP備15007928號-3
?

在線咨詢

在線咨詢真誠為您提供專業解答服務

咨詢熱線

5*8小時服務熱線 400-966-5869

24小時服務熱線 15921513569

13651773046

?

微信咨詢

二維碼掃一掃添加微信
返回頂部